Dual 604 - winda
- radekcza
- Posty: 241
- Rejestracja: 22 gru 2012, 18:43
- Lokalizacja: Warszawa
Dual 604 - winda
A czy ktoś wymieniał smar w windzie Duala 503? też mam problem ze spadającym ramieniem, ale nie wiem jak się dobrać do wnętrza windy 
- Wojtek
- Administrator
- Posty: 45199
- Rejestracja: 02 lut 2009, 02:59
- Lokalizacja: Warszawa
- Kontakt:
Dual 604 - winda
503 to brat 415/435/455, tak więc pytanie dotyczy także tych modeli.

W serwisówce od Dual 415 bolec windy to chyba element nr 61: http://dual.pytalhost.eu/415s/415-02.jpg
Też od spodu, inaczej ciężko by byłoradekcza pisze:też mam problem ze spadającym ramieniem, ale nie wiem jak się dobrać do wnętrza windy
W serwisówce od Dual 415 bolec windy to chyba element nr 61: http://dual.pytalhost.eu/415s/415-02.jpg
Tubylcza wredota, tudzież insza kanalia
Wsparcie finansowe forum
Wsparcie finansowe forum
- radekcza
- Posty: 241
- Rejestracja: 22 gru 2012, 18:43
- Lokalizacja: Warszawa
Dual 604 - winda
Motyla noga, trochę się boję takiego grzebania żeby czegoś przy okazji nie spierniczyć, bo poza tą windą już jest idealnie...
-
meo14
- Posty: 18
- Rejestracja: 30 cze 2020, 09:03
- Gramofon: DUAL CS604
Re: Dual 604 - winda
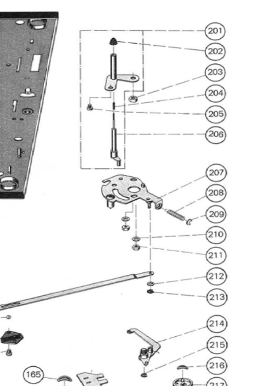
Witam dołączę do tematu , kupiłem smar cx80 nasmarowałem ale niestety nic to nie dało chyba ten smar ma małą lepkość nic na nim nie pisze więc chyba kupiłem zły, ale nie o ty mam pytania :
p.1 -odnośnie elementu nr.202{ z rysunku instrukcji} jak ma być wkręcony ? czy tym regulujemy wysokość igły nad płyta ?
p.2- nakrętki nr.211 tam są otwory jajowate czyli do jakiejś regulacji odkręciłem je i teraz nie wiem jak ustawić w otworach ?nie zwróciłem uwagi jak były niestety, za co to odpowiada ?
p.1 -odnośnie elementu nr.202{ z rysunku instrukcji} jak ma być wkręcony ? czy tym regulujemy wysokość igły nad płyta ?
p.2- nakrętki nr.211 tam są otwory jajowate czyli do jakiejś regulacji odkręciłem je i teraz nie wiem jak ustawić w otworach ?nie zwróciłem uwagi jak były niestety, za co to odpowiada ?
- Jaculek
- Posty: 2365
- Rejestracja: 27 cze 2012, 08:57
- Gramofon: Dual 704, 721
- Lokalizacja: Świętochłowice
Re: Dual 604 - winda
Tak.
Za wzajemne położenie płyty 207 i ramienia. Ustawić tak, żeby nic nie haczyło. Jedyna metoda, to metoda prób i błędów.
Analog: Dual 704&721+DenonDL301&305/ShureV15III/Dual M20E/OrtofonMC-20>HeadamP>PreamPDP>DH-101>DH-220>Monitor Audio RX6/Beyerdynamic DT 880
Cyfra: Arcam FMJ CD17/Malinka>Fiio K11 R2R
Cyfra: Arcam FMJ CD17/Malinka>Fiio K11 R2R
- olsza84
- Posty: 3303
- Rejestracja: 09 lip 2015, 10:27
- Gramofon: Dual Fever
Re: Dual 604 - winda
Ten smar się nie nadaje do windy. Dodam tylko, że do wymiany oleju w windzie nie było potrzeby odkręcania segmentu ramienia. Teraz musisz zwrócić uwagę na punkt autostopu i punkt "znajdywacza rowka". Samo uruchamianie i odcinanie zasilania zakładam, że nie będzie problemem.
NAD 160a / NUDAmini / Philips CD-350 / Braun LS 120
Dual 601, 604, 704, 3x721, 1019, 1209, 1218, 1219, 1229, 1249, Perpetuum Ebner 2020L, Perpetuum Ebner PE 34
FB:Dual Fever
IG:Dual Fever
Dual 601, 604, 704, 3x721, 1019, 1209, 1218, 1219, 1229, 1249, Perpetuum Ebner 2020L, Perpetuum Ebner PE 34
FB:Dual Fever
IG:Dual Fever
-
meo14
- Posty: 18
- Rejestracja: 30 cze 2020, 09:03
- Gramofon: DUAL CS604
Re: Dual 604 - winda
Dzięki za odpowiedź , gdzieś tu na forum znalazłem że wysokość ta nad płyta ma być około 6mm ? , odnośnie pytania drugiego to muszę ustawić jak piszesz bo jak jest za bardzo element 207 w stronę zewnętrzną odnośnie do obudowy to ramię nie wraca i gramofon nie zatrzymuje się .
-
meo14
- Posty: 18
- Rejestracja: 30 cze 2020, 09:03
- Gramofon: DUAL CS604
Re: Dual 604 - winda
no właśnie teraz już wiem że nie trzeba odkręcać tego segmentu ramienia ale jak już to zrobiłem to muszę to jakoś ustawić .
- Wojtek
- Administrator
- Posty: 45199
- Rejestracja: 02 lut 2009, 02:59
- Lokalizacja: Warszawa
- Kontakt:
Re: Dual 604 - winda
Do windy potrzebne są o wiele gęstsze smary niż takie typowo marketowe.
Tubylcza wredota, tudzież insza kanalia
Wsparcie finansowe forum
Wsparcie finansowe forum
-
meo14
- Posty: 18
- Rejestracja: 30 cze 2020, 09:03
- Gramofon: DUAL CS604
- olsza84
- Posty: 3303
- Rejestracja: 09 lip 2015, 10:27
- Gramofon: Dual Fever
Re: Dual 604 - winda
Do 604 akurat odpowiedni to 300.000 zgodnie z instrukcją serwisową.
NAD 160a / NUDAmini / Philips CD-350 / Braun LS 120
Dual 601, 604, 704, 3x721, 1019, 1209, 1218, 1219, 1229, 1249, Perpetuum Ebner 2020L, Perpetuum Ebner PE 34
FB:Dual Fever
IG:Dual Fever
Dual 601, 604, 704, 3x721, 1019, 1209, 1218, 1219, 1229, 1249, Perpetuum Ebner 2020L, Perpetuum Ebner PE 34
FB:Dual Fever
IG:Dual Fever
-
meo14
- Posty: 18
- Rejestracja: 30 cze 2020, 09:03
- Gramofon: DUAL CS604
Re: Dual 604 - winda
Nie będę się spierał z tobą o ta lepkość , bo widzę ze jesteś spec od duali nie ziemski
,ale na ostatniej stronie serwisówki dual cs604 pisze wacker silicone oil AK500.000. Pozdawiam
- olsza84
- Posty: 3303
- Rejestracja: 09 lip 2015, 10:27
- Gramofon: Dual Fever
Re: Dual 604 - winda
No to widocznie sami nie byli pewni i zmieniali. W wersji niemieckiej serwisówki jest AK300.000 a w angielskiej AK500.000 
NAD 160a / NUDAmini / Philips CD-350 / Braun LS 120
Dual 601, 604, 704, 3x721, 1019, 1209, 1218, 1219, 1229, 1249, Perpetuum Ebner 2020L, Perpetuum Ebner PE 34
FB:Dual Fever
IG:Dual Fever
Dual 601, 604, 704, 3x721, 1019, 1209, 1218, 1219, 1229, 1249, Perpetuum Ebner 2020L, Perpetuum Ebner PE 34
FB:Dual Fever
IG:Dual Fever
-
meo14
- Posty: 18
- Rejestracja: 30 cze 2020, 09:03
- Gramofon: DUAL CS604
Re: Dual 604 - winda
Smar przyszedł ten 500.000 i jest teraz ok
, jeszcze okazało się że ktoś założył wtyki chinch ale nie zmienił w środku a tam pod cinch ma być inaczej według serwisówki , jeszcze tylko sprawdzić czy dobrze ustawiłem segment ramienia który nie potrzebnie odkręciłem
.
-
meo14
- Posty: 18
- Rejestracja: 30 cze 2020, 09:03
- Gramofon: DUAL CS604
Re: Dual 604 - winda
Jeszcze zapytam odnośnie masy bo ja masę do wyznaczania wyprowadziłem z tego piątego pinu (czarny przewód z ramienia) czy tak może być czy masę poprowadzić z odbudowy do wzmacniacza a pin zostawić ?