Problem z ustawieniem nacisku igły-DUAL CS-728Q
- Jaculek
- Posty: 2337
- Rejestracja: 27 cze 2012, 08:57
- Gramofon: Dual 704, 721
- Lokalizacja: Świętochłowice
Re: Problem z ustawieniem nacisku igły-DUAL CS-728Q
Regulowałeś tą śrubą nr 6, nakrętką na końcu windy?
Analog: Dual 704&721+DenonDL301&305/ShureV15III/Dual M20E/OrtofonMC-20>HeadamP>PreamPDP>DH-101>DH-220>Monitor Audio RX6/Beyerdynamic DT 880
Cyfra: Arcam FMJ CD17/Malinka>Fiio K11 R2R
Cyfra: Arcam FMJ CD17/Malinka>Fiio K11 R2R
- Jaculek
- Posty: 2337
- Rejestracja: 27 cze 2012, 08:57
- Gramofon: Dual 704, 721
- Lokalizacja: Świętochłowice
Re: Problem z ustawieniem nacisku igły-DUAL CS-728Q
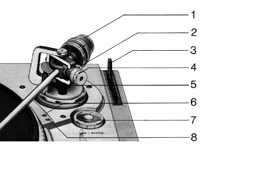
3 strona instrukcji obsługi:
Pokrętło nr 6 do ustawiania wysokości ramienia
Analog: Dual 704&721+DenonDL301&305/ShureV15III/Dual M20E/OrtofonMC-20>HeadamP>PreamPDP>DH-101>DH-220>Monitor Audio RX6/Beyerdynamic DT 880
Cyfra: Arcam FMJ CD17/Malinka>Fiio K11 R2R
Cyfra: Arcam FMJ CD17/Malinka>Fiio K11 R2R
- Jaculek
- Posty: 2337
- Rejestracja: 27 cze 2012, 08:57
- Gramofon: Dual 704, 721
- Lokalizacja: Świętochłowice
Re: Problem z ustawieniem nacisku igły-DUAL CS-728Q
No cóż, stawiam, że problem generuje zastępczy pimpel. Znalazłem zdjęcie 728q od spodu (mam nadzieję, że można tu go użyć). Na nim widzisz
nr 1 - bolec ustalający położenie ramienia nad płytą przy starcie,
nr 2 - elektromagnes (wchodzą do niego dwa niebieskie przewody
nr 3 - belka przenosząca nacisk z elektromagnesu na dźwignię windy Belka nr 3 służy także do pozycjonowania ramienia. Do niej dochodzi bolec nr 2 i na jej krawędzi ma się oprzeć. U Ciebie (prawdopodobnie) bolec wchodzi pod belkę nr 3, bo płytka, do której jest zamocowany bolec, jest skrzywiona przez zbyt długi pimpel. Musisz wydobyć mechanizm i zobaczyć jak to wszystko pracuje.
nr 1 - bolec ustalający położenie ramienia nad płytą przy starcie,
nr 2 - elektromagnes (wchodzą do niego dwa niebieskie przewody
nr 3 - belka przenosząca nacisk z elektromagnesu na dźwignię windy Belka nr 3 służy także do pozycjonowania ramienia. Do niej dochodzi bolec nr 2 i na jej krawędzi ma się oprzeć. U Ciebie (prawdopodobnie) bolec wchodzi pod belkę nr 3, bo płytka, do której jest zamocowany bolec, jest skrzywiona przez zbyt długi pimpel. Musisz wydobyć mechanizm i zobaczyć jak to wszystko pracuje.
Analog: Dual 704&721+DenonDL301&305/ShureV15III/Dual M20E/OrtofonMC-20>HeadamP>PreamPDP>DH-101>DH-220>Monitor Audio RX6/Beyerdynamic DT 880
Cyfra: Arcam FMJ CD17/Malinka>Fiio K11 R2R
Cyfra: Arcam FMJ CD17/Malinka>Fiio K11 R2R
-
lszdi
- Posty: 65
- Rejestracja: 18 sty 2019, 21:06
Re: Problem z ustawieniem nacisku igły-DUAL CS-728Q
Ok,chyba naprawiłem.
Okazało się,że blaszka nr.3 nie jest tak jakby wsadzona obydwoma stronami w część od sprężyny.Poluzowalem trochę śrubkę nr.6 i wsadziłem blaszkę na miejsce.Teraz działa ale wydaję mi się że tylko wtedy gdy ustawiam windę na niską wysokość.
Okazało się,że blaszka nr.3 nie jest tak jakby wsadzona obydwoma stronami w część od sprężyny.Poluzowalem trochę śrubkę nr.6 i wsadziłem blaszkę na miejsce.Teraz działa ale wydaję mi się że tylko wtedy gdy ustawiam windę na niską wysokość.
-
lszdi
- Posty: 65
- Rejestracja: 18 sty 2019, 21:06
Re: Problem z ustawieniem nacisku igły-DUAL CS-728Q
Jaculek dzięki działa !!!
Ok,skalibrowałem !!!
Opada i podnosi się ładnie !!!
Teraz Macie może jakieś pomysły jak dorobić pimpel by ładnie automatyka działała ?
Ok,skalibrowałem !!!
Opada i podnosi się ładnie !!!
Teraz Macie może jakieś pomysły jak dorobić pimpel by ładnie automatyka działała ?
- Jaculek
- Posty: 2337
- Rejestracja: 27 cze 2012, 08:57
- Gramofon: Dual 704, 721
- Lokalizacja: Świętochłowice
Re: Problem z ustawieniem nacisku igły-DUAL CS-728Q
Cieszę się 
Można kupić ale po co iść na łatwiznę
Materiał to guma. Można spróbować gumkę do gumowania ale chyba zbyt łatwo się ściera. Ja używam gumy na uszczelki o grubości 7-8mm i wycinam z niej korkoborem wałeczki o średnicy ok 3mm. Następnie wiercę w nich otwór wiertłem o średnicy 1,5mm na głębokość trzpienia, na którym mocuje się pimpla i przycinam na ok. 4mm. Po zamontowaniu sprawdzam, czy przy ruchu automatyki główna, czarna dźwignia przenosząca ruch z plastikowego koła wciska mocowanie pimpla do końca. Jeżeli tak to znaczy, że pimpel jest za długi i trzeba go skrócić. Trzpień, na który nasadza się gumę poddaje się pod naciskiem (ok 2mm) bo mocowany jest na sprężynie. Powierzchnia styku na czarnej dźwigni powinna być przesmarowana po pimpel po niej się ślizga w pierwszej fazie podczas startu.
Kształt pimpla nie musi być idealnie okrągły w przekroju więc zamiast korkoboru do wycinania można użyć nożyka.
Można kupić ale po co iść na łatwiznę
Materiał to guma. Można spróbować gumkę do gumowania ale chyba zbyt łatwo się ściera. Ja używam gumy na uszczelki o grubości 7-8mm i wycinam z niej korkoborem wałeczki o średnicy ok 3mm. Następnie wiercę w nich otwór wiertłem o średnicy 1,5mm na głębokość trzpienia, na którym mocuje się pimpla i przycinam na ok. 4mm. Po zamontowaniu sprawdzam, czy przy ruchu automatyki główna, czarna dźwignia przenosząca ruch z plastikowego koła wciska mocowanie pimpla do końca. Jeżeli tak to znaczy, że pimpel jest za długi i trzeba go skrócić. Trzpień, na który nasadza się gumę poddaje się pod naciskiem (ok 2mm) bo mocowany jest na sprężynie. Powierzchnia styku na czarnej dźwigni powinna być przesmarowana po pimpel po niej się ślizga w pierwszej fazie podczas startu.
Kształt pimpla nie musi być idealnie okrągły w przekroju więc zamiast korkoboru do wycinania można użyć nożyka.
Analog: Dual 704&721+DenonDL301&305/ShureV15III/Dual M20E/OrtofonMC-20>HeadamP>PreamPDP>DH-101>DH-220>Monitor Audio RX6/Beyerdynamic DT 880
Cyfra: Arcam FMJ CD17/Malinka>Fiio K11 R2R
Cyfra: Arcam FMJ CD17/Malinka>Fiio K11 R2R
-
lszdi
- Posty: 65
- Rejestracja: 18 sty 2019, 21:06
Re: Problem z ustawieniem nacisku igły-DUAL CS-728Q
dałbyś zdjęcie bo nie wiem czy mam taką gumę ?Jaculek pisze: ↑30 paź 2019, 19:34Cieszę się
Można kupić ale po co iść na łatwiznę![]()
Materiał to guma. Można spróbować gumkę do gumowania ale chyba zbyt łatwo się ściera. Ja używam gumy na uszczelki o grubości 7-8mm i wycinam z niej korkoborem wałeczki o średnicy ok 3mm. Następnie wiercę w nich otwór wiertłem o średnicy 1,5mm na głębokość trzpienia, na którym mocuje się pimpla i przycinam na ok. 4mm. Po zamontowaniu sprawdzam, czy przy ruchu automatyki główna, czarna dźwignia przenosząca ruch z plastikowego koła wciska mocowanie pimpla do końca. Jeżeli tak to znaczy, że pimpel jest za długi i trzeba go skrócić. Trzpień, na który nasadza się gumę poddaje się pod naciskiem (ok 2mm) bo mocowany jest na sprężynie. Powierzchnia styku na czarnej dźwigni powinna być przesmarowana po pimpel po niej się ślizga w pierwszej fazie podczas startu.
Kształt pimpla nie musi być idealnie okrągły w przekroju więc zamiast korkoboru do wycinania można użyć nożyka.
- Jaculek
- Posty: 2337
- Rejestracja: 27 cze 2012, 08:57
- Gramofon: Dual 704, 721
- Lokalizacja: Świętochłowice
Re: Problem z ustawieniem nacisku igły-DUAL CS-728Q
Zdjęcie niewiele da. To po prostu arkusz czarnej gumy o grubości ok 7mm. Chodzi o to, żeby materiał był w miarę elastyczny ale odporny na ścieranie. Trzeba improwizować.
Analog: Dual 704&721+DenonDL301&305/ShureV15III/Dual M20E/OrtofonMC-20>HeadamP>PreamPDP>DH-101>DH-220>Monitor Audio RX6/Beyerdynamic DT 880
Cyfra: Arcam FMJ CD17/Malinka>Fiio K11 R2R
Cyfra: Arcam FMJ CD17/Malinka>Fiio K11 R2R
-
lszdi
- Posty: 65
- Rejestracja: 18 sty 2019, 21:06
Re: Problem z ustawieniem nacisku igły-DUAL CS-728Q
Bo u mnie jest inny pimpel niz w większości gramofonów dual.U mnie się nie nakłada pimpla tylko się wkłada do dziurki.Jaculek pisze: ↑30 paź 2019, 19:34Cieszę się
Można kupić ale po co iść na łatwiznę![]()
Materiał to guma. Można spróbować gumkę do gumowania ale chyba zbyt łatwo się ściera. Ja używam gumy na uszczelki o grubości 7-8mm i wycinam z niej korkoborem wałeczki o średnicy ok 3mm. Następnie wiercę w nich otwór wiertłem o średnicy 1,5mm na głębokość trzpienia, na którym mocuje się pimpla i przycinam na ok. 4mm. Po zamontowaniu sprawdzam, czy przy ruchu automatyki główna, czarna dźwignia przenosząca ruch z plastikowego koła wciska mocowanie pimpla do końca. Jeżeli tak to znaczy, że pimpel jest za długi i trzeba go skrócić. Trzpień, na który nasadza się gumę poddaje się pod naciskiem (ok 2mm) bo mocowany jest na sprężynie. Powierzchnia styku na czarnej dźwigni powinna być przesmarowana po pimpel po niej się ślizga w pierwszej fazie podczas startu.
Kształt pimpla nie musi być idealnie okrągły w przekroju więc zamiast korkoboru do wycinania można użyć nożyka.
- Jaculek
- Posty: 2337
- Rejestracja: 27 cze 2012, 08:57
- Gramofon: Dual 704, 721
- Lokalizacja: Świętochłowice
Re: Problem z ustawieniem nacisku igły-DUAL CS-728Q
A widzisz, tego niestety nie przerabiałem.
Wygląda tak:
https://www.ebay.de/itm/Plattenspieler- ... 3605663483
Wygląda na to, że trudno będzie go zrobić samodzielnie.
Wygląda tak:
https://www.ebay.de/itm/Plattenspieler- ... 3605663483
Wygląda na to, że trudno będzie go zrobić samodzielnie.
Analog: Dual 704&721+DenonDL301&305/ShureV15III/Dual M20E/OrtofonMC-20>HeadamP>PreamPDP>DH-101>DH-220>Monitor Audio RX6/Beyerdynamic DT 880
Cyfra: Arcam FMJ CD17/Malinka>Fiio K11 R2R
Cyfra: Arcam FMJ CD17/Malinka>Fiio K11 R2R
- Jaculek
- Posty: 2337
- Rejestracja: 27 cze 2012, 08:57
- Gramofon: Dual 704, 721
- Lokalizacja: Świętochłowice
Re: Problem z ustawieniem nacisku igły-DUAL CS-728Q
Chociaż... właściwie można by spróbować przykleić krążek z gumy o grubości ok 2mm kropelką. Może wytrzyma
Analog: Dual 704&721+DenonDL301&305/ShureV15III/Dual M20E/OrtofonMC-20>HeadamP>PreamPDP>DH-101>DH-220>Monitor Audio RX6/Beyerdynamic DT 880
Cyfra: Arcam FMJ CD17/Malinka>Fiio K11 R2R
Cyfra: Arcam FMJ CD17/Malinka>Fiio K11 R2R
-
lszdi
- Posty: 65
- Rejestracja: 18 sty 2019, 21:06
Re: Problem z ustawieniem nacisku igły-DUAL CS-728Q
Hah nie uwierzycie !!!
Wziąłem wkład do dlugopisu i zacząłem nożykiem ostrzyć końcówkę(tam gdzie nie ma atramentu)
,obciąłem kawałek naostrzonego tego wkladu i wstawilem jako pimpel.
Wszystko śmiga hah
Zaraz wstawię filmik z YT.

Wziąłem wkład do dlugopisu i zacząłem nożykiem ostrzyć końcówkę(tam gdzie nie ma atramentu)
,obciąłem kawałek naostrzonego tego wkladu i wstawilem jako pimpel.
Wszystko śmiga hah
Zaraz wstawię filmik z YT.
-
lszdi
- Posty: 65
- Rejestracja: 18 sty 2019, 21:06