Pokaż mi swoją wkładkę

Źródła dźwięku
ODPOWIEDZ
ISOPHON
Posty: 592
Rejestracja: 23 lis 2013, 12:57

Re: Pokaż mi swoją wkładkę

#646

Post autor: ISOPHON »

Miałem już tu nie pisać ale..Primo-te shibaty są tanie typu "bonded" na kiepskim aluminiowym(przy okazji starym-nie wiadomo jak zniósł lata przechowywania) wsporniku,absolutnie nijak ma się to do oryginału.Ani jakość wykonania ani masa(igły) nawet nie zbliżają się do oryginału.O jakości wspornika(w zasadzie najważniejszego elementu igły)nawet nie ma co mówić.A tak poza..tym Pickering XLZ 3500E nie jest wkładką MC !!!!! Jest to typowa wkładka MM !!!! tyle tylko że nawinięto małą ilość drutu na cewki uzyskując pewne zalety wkładki MC.Dodam że wkładki tego typu można spokojnie rozbierać i przewijać samodzielnie..
MISSE
Posty: 1662
Rejestracja: 16 cze 2013, 21:59
Gramofon: Micro Seiki DDX

Re: Pokaż mi swoją wkładkę

#647

Post autor: MISSE »

ISOPHON pisze:
16 lis 2018, 17:52
Miałem już tu nie pisać ale..
Pisać każdy może, a jak jeszcze ktoś skorzysta to będzie super
ISOPHON pisze:
16 lis 2018, 17:52
Primo-te shibaty są tanie typu "bonded"
klejony, spojony, tani??? lepszy, gorszy??? nie wiem czy ktoś zrozumiał sens twojej wypowiedzi
ISOPHON pisze:
16 lis 2018, 17:52
na kiepskim aluminiowym(przy okazji starym-nie wiadomo jak zniósł lata przechowywania) wsporniku
Diament się nie zestarzał, aluminium też, czy miałeś namyśli wspornik??? i uwaga jw.
Jak rozpoznać kiepską aluminiową rurkę??? mają ja wkładki za 100zł jak i za 10kzł
Prosimy o wskazówki
ISOPHON pisze:
16 lis 2018, 17:52
nijak ma się to do oryginału
Kto napisał, że zamiennik jest lepszy od oryginału??? ja takiego cytatu nie zalazłem
ISOPHON pisze:
16 lis 2018, 17:52
Ani jakość wykonania ani masa(igły) nawet nie zbliżają się do oryginału.O jakości wspornika(w zasadzie najważniejszego elementu igły)nawet nie ma co mówić
Kto wspominał o masie igły i wspornika??? Proszę o odpowiedź i wskazówki - nagi diament, eliptyk wspornik-rurka aluminiowa wkładka za 10Kzł - jeśli generator jest zestrojony do takiego zestawu, to co wniesie igła ze wspornikiem z Boru i szlifem np. VdH

Cieszę się, że coś gdzieś doczytałeś ale co wnosi to dla forum i jego użytkowników???

Co do Pickeringa to masz taką wkładkę??? i koniecznie opisz wspornik i igłę tej wkładki

Prosimy też o wyjaśnienie różnic między MC MI i MM oczywiście tak aby każdy zrozumiał.

To prawda że napisałem iż to wkładka MC
MISSE pisze:
12 paź 2018, 20:43
Ostatnie dziecko przed epoką CD. Wkładka MC!!! z igłą wymienną kompatybilną z modelami XUV, XSV oraz Stantonem i igłami D91,D81

Choć czytając ze zrozumieniem
MISSE pisze:
12 paź 2018, 20:43
Pickering XLZ-3500E :
Type MM low output - MC
Output Voltage: 0,33mV
Frequency Response: 10 Hz - 40.000 Hz
Tracking Force: 0.75-1.5g
Channel Separation : 35dB/ 1000 Hz
Channel Balance < 1 dB
Load Impedance: 100 ohms/ pF unKnown
Induktion: 1mH (1 kHz)
Dynamic Compliance 25 µm/mN
Nadeltyp: natural Elliptical Diamond Stereohedron Stylus: D3500E.
Cartridge weight: 5grams

Jeśli musisz użyj translatora
ISOPHON pisze:
16 lis 2018, 17:52
tyle tylko że nawinięto małą ilość drutu na cewki uzyskując pewne zalety wkładki MC.
Jakie zalety MC??? Czy odwinięcie drutu zbliża nas do MC??? Czy często odwijasz drut z cewek na swoich wkładkach???
A swoją drogą to tylko nawijasz wkładki czy jeszcze coś potrafisz???
ISOPHON
Posty: 592
Rejestracja: 23 lis 2013, 12:57

Re: Pokaż mi swoją wkładkę

#648

Post autor: ISOPHON »

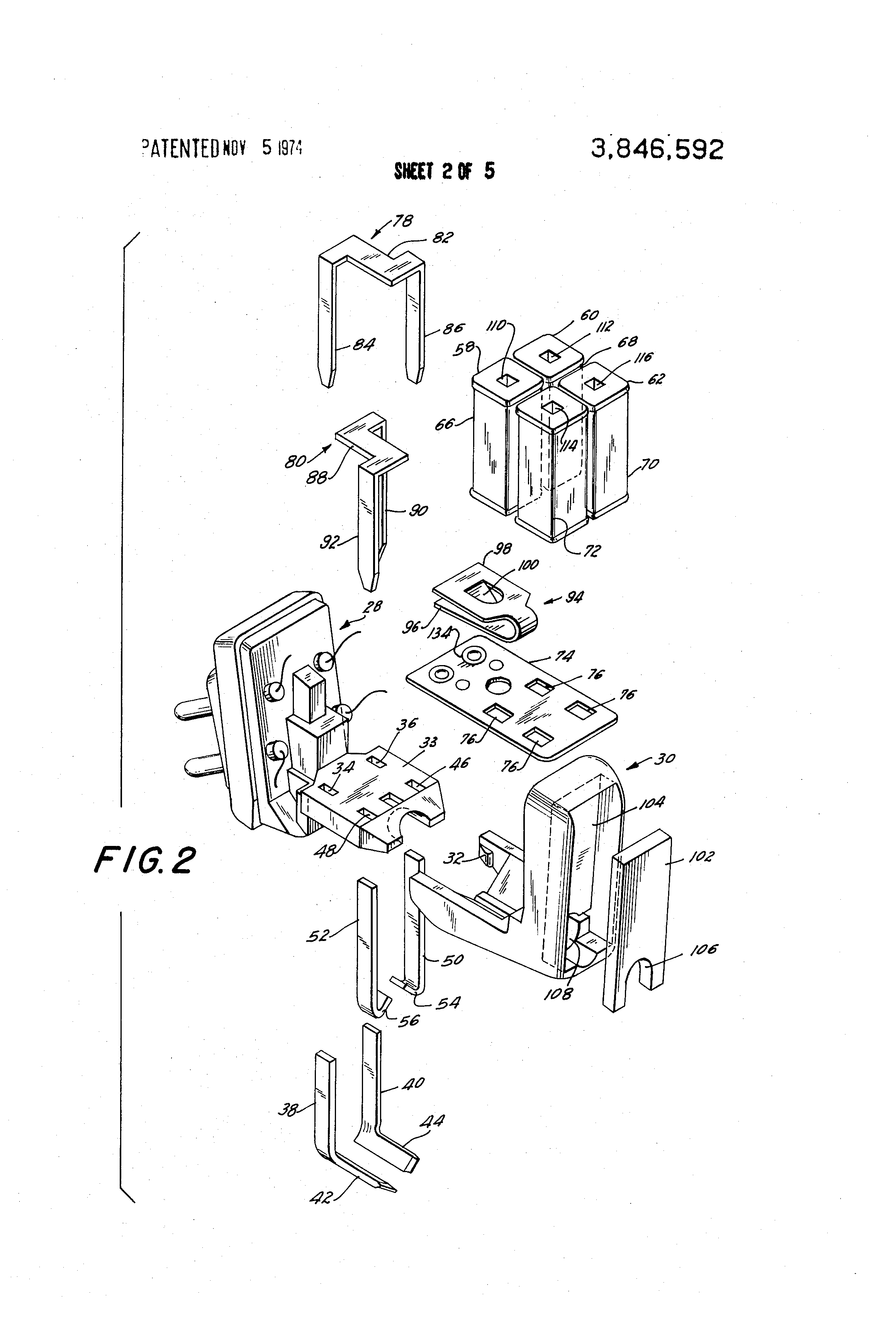
Nie jestem niegrzeczny więc nie napiszę w tym samym tonie.Potrafię wiele rzeczy..Co do Pickeringa to poniżej zamieszczam grafikę patentową wkładki(tu akurat odmiana MI-różni się od MM montowanym magnesem-element nr 102)..myślę że wyrażnie widać typową konstrukcję wkładki MM..Dobra 4 cewkowa konstrukcja na minus rdzeń nielaminowany.Ot i tyle.Na koniec powszechnej ery LP wpadli na pomysł by zrobić wkładkę MM o charakterystyce elektrycznej wkładek MC.Coś jak dzisiejsze (nie wszystkie) modele wkładek Soundsmitha(z tym że one są MI).Tak odwinięcie drutu zbliży nas do MC zakładając oczywiście że mamy wysokiej jakości igłę(niska masa i wysokiej jakości konstrukcja wspornika).
Zresztą jej konstrucja jest wyrażnie opisana:
Pickering XLZ-3500E :
Type MM low output
Załączniki
STANTON MOVING IRON.png
Ostatnio zmieniony 17 lis 2018, 02:16 przez ISOPHON, łącznie zmieniany 3 razy.
ISOPHON
Posty: 592
Rejestracja: 23 lis 2013, 12:57

Re: Pokaż mi swoją wkładkę

#649

Post autor: ISOPHON »

Wspomniane przeze mnie wcześniej wsporniki igieł(od Eda) mają konstrukcję rurkową z aluminium nieutwardzanego(jasna barwa).Wysokiej jakości sztywny wspornik z aluminium jest utwardzany anodyzowaniem(ciemniejsza barwa) i ma konstrukcję stożkową.Mniej więcej tak jak na zamieszczonym poniżej zdjęciu.Lub jest teleskopowy(aluminiowy) jak w igłach Shura.Wykładu co do roli i jakości(przede wszystkim sztywności) wspornika igły nie będę robił..jest dostępny np. na stronie Shura(warto poczytać !)Tak samo nie będę się produkował nad konstrukcją elektryczną wkładek-MM,MI,MC zakładam że każdy zainteresowany ją zna(chyba ??).
Załączniki
AT VM35.jpg
shure stylus drawing.jpg
Awatar użytkownika
Wojtek
Administrator
Posty: 44921
Rejestracja: 02 lut 2009, 02:59
Lokalizacja: Warszawa
Kontakt:

Re: Pokaż mi swoją wkładkę

#650

Post autor: Wojtek »

ISOPHON pisze:
17 lis 2018, 01:42
Co do Pickeringa to poniżej zamieszczam grafikę patentową wkładki(tu akurat odmiana MI-różni się od MM montowanym magnesem-element nr 102)
Innymi slowy - to nie "ten" patent tylko jakiś inny przykład.
XV-15 były MI. Wszystko przedtem (V-15) potem (XUV, XSV) już MM.
Analogicznie u Stantona: 500 (MM), 68x (MI), 881/981 (MM).
ISOPHON pisze:
17 lis 2018, 01:42
Coś jak dzisiejsze (nie wszystkie) modele wkładek Soundsmitha(z tym że one są MI)
Chyba nawet nazywają to "MI MC" czy jakoś tak.
Igły bodajże nie są wymienne (w odróżnieniu do konstrukcji Stanteringa ;) ).

Ja bym to ujął inaczej - Pickering XLZ czy Stantony LZS to MMka "wywrócona na lewą stronę" tak jakby.
Niezależnie od tego, jest to konstrukcja typu MM o charakterystyce elektrycznej wkładek MC LO.

ISOPHON, to że tanie igły zamienniki nie są na tym samym poziomie jakościowym co oryginalne topowe igły wyższej klasy to sprawa oczywista i nikt tutaj odwrotnych twierdzeń przecież nie wrzucał (a przynajmniej nie kojarzę).

Szkoda że nie chcesz tutaj pisać. Byś pokazał jakąś fajną wkładkę z kolekcji ;)
Tubylcza wredota, tudzież insza kanalia
Wsparcie finansowe forum
MISSE
Posty: 1662
Rejestracja: 16 cze 2013, 21:59
Gramofon: Micro Seiki DDX

Re: Pokaż mi swoją wkładkę

#651

Post autor: MISSE »

ISOPHON pisze:
17 lis 2018, 01:42
Nie jestem niegrzeczny więc nie napiszę w tym samym tonie
Możesz niegrzecznie byle rzeczowo :drool:
ISOPHON pisze:
17 lis 2018, 01:52
Wspomniane przeze mnie wcześniej wsporniki igieł(od Eda) mają konstrukcję rurkową z aluminium nieutwardzanego(jasna barwa).Wysokiej jakości sztywny wspornik z aluminium jest utwardzany anodyzowaniem(ciemniejsza barwa) i ma konstrukcję stożkową.Mniej więcej tak jak na zamieszczonym poniżej zdjęciu.Lub jest teleskopowy(aluminiowy) jak w igłach Shura.
no to pała z mechaniki i materiałoznawstwa
Aluminium się nie utwardza, w połączeniu z innymi materiałami możemy zmienić jego właściwości mechaniczne itd. czyli to jest stop metali

Co do anodowania jest to proces pokrywania się warstwy zewnętrznej najczęściej tlenkami. Anodowanie aluminium powoduje wysoką odporność na zarysowania - NIE WPŁYWA NA SZTYWNOŚĆ I INNE WŁASNOŚCI WEWNĘTRZNE MATERIAŁU. Jeśli trudno zrozumieć ten proces to można porónać go do lakierowania
Stożkowy lub przewężany wspornik ma za zadanie zmniejszenie masy, ale w drogich igłach jest struna dodatkowo naprężająca.

Co do teleskopowego wspornika to raczej wszystko podyktowane jest oszczędnością. Górna część tania rurka aluminiowa, dolna część coś ciękiego drogiego :drool:

Lubie każdą dyskusję jeśli tylko opiera się na wiedzy i przedewszystkim wnosi coś dla innych

PS. Czekamy na rzeczowy wykład na temat klejonych i nieklejonych tanich diamentów. Dalej nie napisałeś dlaczego we wkladkach za 10Kzł mamy aluminiowe (ciężkie) wsporniki i dlaczego tak droga wkładka jest akurat tak strojona - teoria o anodowaniu już była
Wojtek pisze:
17 lis 2018, 03:29
Szkoda że nie chcesz tutaj pisać. Byś pokazał jakąś fajną wkładkę z kolekcji
i to jest dobry pomysł zamiast bajek o wyższości świąt Bożego Narodzenia nad Wielkanocą :pray:
ISOPHON
Posty: 592
Rejestracja: 23 lis 2013, 12:57

Re: Pokaż mi swoją wkładkę

#652

Post autor: ISOPHON »

I znowu niegrzecznie..
Co do anodyzowania aluminiowego wspornika celem polepszenia jego sztywności to nie mój wymysł a szacownej firmy STANTON/PICKERING..Jest na to patent..
US4509159.pdf
(297.92 KiB) Pobrany 225 razy
Myślę że konstruktorzy z tej firmy durniami nie byli a i Amerykański Urząd Patentowy dla zabawy tego patentu nie przyjął w 1982 r..jak myślisz ???
Załączniki
US4509159-1.png
Ostatnio zmieniony 17 lis 2018, 13:36 przez ISOPHON, łącznie zmieniany 1 raz.
ISOPHON
Posty: 592
Rejestracja: 23 lis 2013, 12:57

Re: Pokaż mi swoją wkładkę

#653

Post autor: ISOPHON »

ale w drogich igłach jest struna dodatkowo naprężająca
Eeee..to nie struna naprężająca a tłumik drgań..no chyba że konstruktorzy z firmy SHURE się mylili jak myślisz ??
Załączniki
29263 (1).jpg
ISOPHON
Posty: 592
Rejestracja: 23 lis 2013, 12:57

Re: Pokaż mi swoją wkładkę

#654

Post autor: ISOPHON »

Co do zasadności stosowania teleskopowego wspornika to też nie mój wymysł a badania firmy SHURE..notabene swego czasu(lata 70) mocno nagłośnione..jak myślisz durnie pracowali tam jako konstruktorzy ???
Załączniki
29258.jpg
Ostatnio zmieniony 17 lis 2018, 13:30 przez ISOPHON, łącznie zmieniany 1 raz.
ISOPHON
Posty: 592
Rejestracja: 23 lis 2013, 12:57

Re: Pokaż mi swoją wkładkę

#655

Post autor: ISOPHON »

Szkoda że nie chcesz tutaj pisać. Byś pokazał jakąś fajną wkładkę z kolekcji
Niestety rozczaruję Cię nie kolekcjonuję wkładek choć przez moje ręce przeszło ich pewnie ponad tysiąc(różnistych) i stety albo i nie częśc z nich dokonała żywota podczas oględzin ich wnętrzności tudzież pomiarów.
MISSE
Posty: 1662
Rejestracja: 16 cze 2013, 21:59
Gramofon: Micro Seiki DDX

Re: Pokaż mi swoją wkładkę

#656

Post autor: MISSE »

ISOPHON pisze:
17 lis 2018, 13:10
Co do anodyzowania aluminiowego wspornika celem polepszenia jego sztywności to nie mój wymysł a szacownej firmy STANTON/PICKERING..Jest na to patent..
ISOPHON pisze:
17 lis 2018, 13:10
Myślę że konstruktorzy z tej firmy durniami nie byli a i Amerykański Urząd Patentowy dla zabawy tego patentu nie przyjął w 1982 r..jak myślisz
ISOPHON pisze:
17 lis 2018, 13:16
Eeee..to nie struna naprężająca a tłumik drgań..no chyba że konstruktorzy z firmy SHURE się mylili jak myślisz
ISOPHON pisze:
17 lis 2018, 13:19
Co do zasadności stosowania teleskopowego wspornika to też nie mój wymysł a badania firmy SHURE..notabene swego czasu(lata 70) mocno nagłośnione..jak myślisz durnie pracowali tam jako konstruktorzy ???

Co ja na ten temat myślę ??? Myślę, że wklejasz ciekawe, rzeczy nie do końca je rozumiejąc, lub czytasz bez zrozumienia

Patent który wkleiłeś, mówi o sposobie anodowania(połowa grubości i tylko wybraną część rurki) więc można powiedzieć że to dwuwarstwowa rurka -aluminium i tlenek aluminium. To głębokość anodowania zmienia parametry mechaniczne choć jest tam też napisane o rezonansie przy zbyt dużej sztywności i jego pływie. Dla tego nie możemy porównać tego anodowania do lakierowania(typowo grubość anodowania jest mierzona w mikronach podobnie jak powłoka lakiernicza). Przy dużych gabarytach podobne cechy uzyskujemy przez kucie
Jest też opisana struna napinająca i tej igle - jest to uziom :shhh: i podobnie na wklejkach Shura
Nic nigdy nie doczytałem o tłumiku drgań, ale czekamy na nowe wklejki


Ponieważ ostatnia wklejka to symulacja komputerowa to napisze tylko, że popatrz na oś !!!

Zastanów się nad połączeniem modułów, ile moduł poprzedni musi zachodzić aby możliwe było połączenie (z uwzględnieniem średnicy)
ISOPHON pisze:
17 lis 2018, 13:19
.jak myślisz durnie pracowali tam jako konstruktorzy ???
Nie obrażaj nikogo jeśli nie rozumiesz idei jaka przyświecała pomysłowi

A swoją drogą widziałeś oryginalną igłę Shura z pięcioteleskopem???

Mam oryginalne igły Shura do kilku wkładek i droższych i tańszych i nigdzie nie ma takiego połączenia poza opisanym
MISSE pisze:
17 lis 2018, 12:02
Co do teleskopowego wspornika to raczej wszystko podyktowane jest oszczędnością. Górna część tania rurka aluminiowa, dolna część coś ciękiego drogiego
Szkoda, że zaśmiecilimy wątek o kładkach. Może Wojtek wydzieli to i nada nowy tytuł
Awatar użytkownika
Wojtek
Administrator
Posty: 44921
Rejestracja: 02 lut 2009, 02:59
Lokalizacja: Warszawa
Kontakt:

Re: Pokaż mi swoją wkładkę

#657

Post autor: Wojtek »

Stanton 681EEE Mk IIs

Ostatni topowy model serii Stanton 681. Igła to Stereohedron.
Odpowiednikiem w nomenklaturze Pickeringa był model XV-15/1800S.

Stanton 681EEE Mk IIs
Stanton 681EEE Mk IIs

Stantonowe przedszkole podczas przerwy na leżakowanie :P

(od góry: 981HZS, 681EEE Mk IIs, 881S)
(od góry: 981HZS, 681EEE Mk IIs, 881S)
Tubylcza wredota, tudzież insza kanalia
Wsparcie finansowe forum
Awatar użytkownika
Biogon
Posty: 1912
Rejestracja: 17 lut 2017, 15:30
Gramofon: składak
Lokalizacja: 3ka

Re: Pokaż mi swoją wkładkę

#658

Post autor: Biogon »

Roman arrived! :)
Załączniki
IMG_6568.jpg
Awatar użytkownika
Pawelec
Posty: 3451
Rejestracja: 17 gru 2012, 20:18
Gramofon: Składak
Lokalizacja: Okolice Warszawy

Re: Pokaż mi swoją wkładkę

#659

Post autor: Pawelec »

A temu Romanu to igły sie nie wymienia :think: . Słaba ta MM-ka :mrgreen:
AKTUALNE OGŁOSZENIA - pierwszy post
viewtopic.php?t=15809#p307122

Słuchać możesz jeszcze lepiej i jeszcze piękniej.
https://instagram.com/murasaudio
Awatar użytkownika
Myszor
Posty: 11103
Rejestracja: 30 paź 2014, 18:44
Gramofon: PD-300
Lokalizacja: Wrocław

Re: Pokaż mi swoją wkładkę

#660

Post autor: Myszor »

Biogon pisze:
13 gru 2018, 15:05
Roman arrived! :)
Super. Jak wrażenia ?
ODPOWIEDZ