Instrukcje obsługi i serwisówki
-
ozeh
- Posty: 11
- Rejestracja: 15 lis 2025, 19:56
- Lokalizacja: Bielsko-Biała
Re: Instrukcje obsługi i serwisówki
No tak, nie zajrzałem do drugiego źródła. Moja wina. Dziękuję.
- Wojtek
- Administrator
- Posty: 44806
- Rejestracja: 02 lut 2009, 02:59
- Lokalizacja: Warszawa
- Kontakt:
Re: Instrukcje obsługi i serwisówki
Oj tam wina, nie każdy wie że taka stronka istnieje 
Tubylcza wredota, tudzież insza kanalia
Wsparcie finansowe forum
Wsparcie finansowe forum
-
Jack D
- Posty: 261
- Rejestracja: 25 kwie 2021, 11:42
- Lokalizacja: Warszawa/Zakopane
Re: Instrukcje obsługi i serwisówki
Cześć, wielka prośba pobranie obu załączników i wysłanie do mnie: https://www.vinylengine.com/library/pic ... 7500.shtml
Ciągle nie da się zarejestrować
Ciągle nie da się zarejestrować
-
Jack D
- Posty: 261
- Rejestracja: 25 kwie 2021, 11:42
- Lokalizacja: Warszawa/Zakopane
- Zaurid
- Posty: 276
- Rejestracja: 09 maja 2023, 17:56
- Gramofon: Victor QL A95
- Lokalizacja: Poznań
Re: Instrukcje obsługi i serwisówki
Cześć. Mam wielką prośbę o schematy do technics SV-D1000. Nigdzie nie ma na wierzchu. A vinylengine mnie nie chce 
Victor QL-A95>iFi Audio iPhono 3->AT-33PTG II->JVC Victor MC100IIEB, SHURE ULTRA 500, SHURE V15 type lll, SHURE V15 type IV, Victor X1 II,JVC Z1EB....
- domibobi
- Posty: 3020
- Rejestracja: 26 wrz 2019, 06:13
- Gramofon: Sony PS-X65
- Lokalizacja: Kraków
Re: Instrukcje obsługi i serwisówki
Prośba o ściągnięcie owners manuał https://www.vinylengine.com/library/saba/psp-250.shtml
Z góry dziękuję
Z góry dziękuję
analog: Sony PS X-65 / PreampDyskretniok / Onkyo A-8850 / Pylon Audio Pearl 27
cyfra: Tidal / Wiim Ultra / Onkyo A-8850 / Pylon Audio Pearl 27
Kilka szpargałów do sprzedania: viewtopic.php?f=59&t=21195
cyfra: Tidal / Wiim Ultra / Onkyo A-8850 / Pylon Audio Pearl 27
Kilka szpargałów do sprzedania: viewtopic.php?f=59&t=21195
- Twonk
- Posty: 120
- Rejestracja: 09 lut 2025, 07:56
Re: Instrukcje obsługi i serwisówki
Metz TX 4963,VM520EB, VM540ML, ZEN Phono 3, NAD C356BEE, KEF iQ9
Dual CS 607, Phono Box S, Cambridge Audio A1, Kef iQ7
Cyfra: Philips CD820, Wiim Pro, Fiio K11 R2R
Dual CS 607, Phono Box S, Cambridge Audio A1, Kef iQ7
Cyfra: Philips CD820, Wiim Pro, Fiio K11 R2R
- domibobi
- Posty: 3020
- Rejestracja: 26 wrz 2019, 06:13
- Gramofon: Sony PS-X65
- Lokalizacja: Kraków
Re: Instrukcje obsługi i serwisówki
Raczej tak , dzięki 
analog: Sony PS X-65 / PreampDyskretniok / Onkyo A-8850 / Pylon Audio Pearl 27
cyfra: Tidal / Wiim Ultra / Onkyo A-8850 / Pylon Audio Pearl 27
Kilka szpargałów do sprzedania: viewtopic.php?f=59&t=21195
cyfra: Tidal / Wiim Ultra / Onkyo A-8850 / Pylon Audio Pearl 27
Kilka szpargałów do sprzedania: viewtopic.php?f=59&t=21195
- mcemsi
- Posty: 865
- Rejestracja: 06 cze 2012, 23:13
- Gramofon: PS-X600, PS-X555ES
Re: Instrukcje obsługi i serwisówki
Mi to bardziej wygląda na taką częściowo serwisową instrukcję , a zerknij na to
- domibobi
- Posty: 3020
- Rejestracja: 26 wrz 2019, 06:13
- Gramofon: Sony PS-X65
- Lokalizacja: Kraków
Re: Instrukcje obsługi i serwisówki
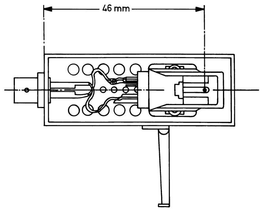
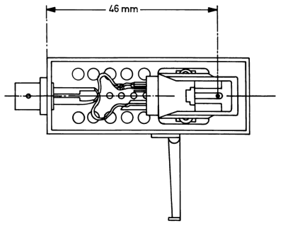
Potrzebowałem tego zobrazowania:
No i w tym przypadku okazuje się, że jest ono obecne w instrukcji serwisowej, a nie obsługi. Dzięki Panowie.
analog: Sony PS X-65 / PreampDyskretniok / Onkyo A-8850 / Pylon Audio Pearl 27
cyfra: Tidal / Wiim Ultra / Onkyo A-8850 / Pylon Audio Pearl 27
Kilka szpargałów do sprzedania: viewtopic.php?f=59&t=21195
cyfra: Tidal / Wiim Ultra / Onkyo A-8850 / Pylon Audio Pearl 27
Kilka szpargałów do sprzedania: viewtopic.php?f=59&t=21195