Pokaż mi swoją wkładkę
- 
				ISOPHON
 - Posty: 592
 - Rejestracja: 23 lis 2013, 12:57
 
Re: Pokaż mi swoją wkładkę
Miałem już tu nie pisać ale..Primo-te shibaty są tanie typu "bonded" na kiepskim aluminiowym(przy okazji starym-nie wiadomo jak zniósł lata przechowywania) wsporniku,absolutnie nijak ma się to do oryginału.Ani jakość wykonania ani masa(igły) nawet nie zbliżają się do oryginału.O jakości wspornika(w zasadzie najważniejszego elementu igły)nawet nie ma co mówić.A tak poza..tym Pickering XLZ 3500E nie jest wkładką MC !!!!! Jest to typowa wkładka MM !!!! tyle tylko że nawinięto małą ilość drutu na cewki uzyskując pewne zalety wkładki MC.Dodam że wkładki tego typu można spokojnie rozbierać i przewijać samodzielnie..
			
			
									
									
						- 
				MISSE
 - Posty: 1660
 - Rejestracja: 16 cze 2013, 21:59
 - Gramofon: Micro Seiki DDX
 
Re: Pokaż mi swoją wkładkę
Pisać każdy może, a jak jeszcze ktoś skorzysta to będzie super
klejony, spojony, tani??? lepszy, gorszy??? nie wiem czy ktoś zrozumiał sens twojej wypowiedzi
Diament się nie zestarzał, aluminium też, czy miałeś namyśli wspornik??? i uwaga jw.
Jak rozpoznać kiepską aluminiową rurkę??? mają ja wkładki za 100zł jak i za 10kzł
Prosimy o wskazówki
Kto napisał, że zamiennik jest lepszy od oryginału??? ja takiego cytatu nie zalazłem
Kto wspominał o masie igły i wspornika??? Proszę o odpowiedź i wskazówki - nagi diament, eliptyk wspornik-rurka aluminiowa wkładka za 10Kzł - jeśli generator jest zestrojony do takiego zestawu, to co wniesie igła ze wspornikiem z Boru i szlifem np. VdH
Cieszę się, że coś gdzieś doczytałeś ale co wnosi to dla forum i jego użytkowników???
Co do Pickeringa to masz taką wkładkę??? i koniecznie opisz wspornik i igłę tej wkładki
Prosimy też o wyjaśnienie różnic między MC MI i MM oczywiście tak aby każdy zrozumiał.
To prawda że napisałem iż to wkładka MC
Choć czytając ze zrozumieniem
MISSE pisze: ↑12 paź 2018, 20:43Pickering XLZ-3500E :
Type MM low output - MC
Output Voltage: 0,33mV
Frequency Response: 10 Hz - 40.000 Hz
Tracking Force: 0.75-1.5g
Channel Separation : 35dB/ 1000 Hz
Channel Balance < 1 dB
Load Impedance: 100 ohms/ pF unKnown
Induktion: 1mH (1 kHz)
Dynamic Compliance 25 µm/mN
Nadeltyp: natural Elliptical Diamond Stereohedron Stylus: D3500E.
Cartridge weight: 5grams
Jeśli musisz użyj translatora
Jakie zalety MC??? Czy odwinięcie drutu zbliża nas do MC??? Czy często odwijasz drut z cewek na swoich wkładkach???
A swoją drogą to tylko nawijasz wkładki czy jeszcze coś potrafisz???
- 
				ISOPHON
 - Posty: 592
 - Rejestracja: 23 lis 2013, 12:57
 
Re: Pokaż mi swoją wkładkę
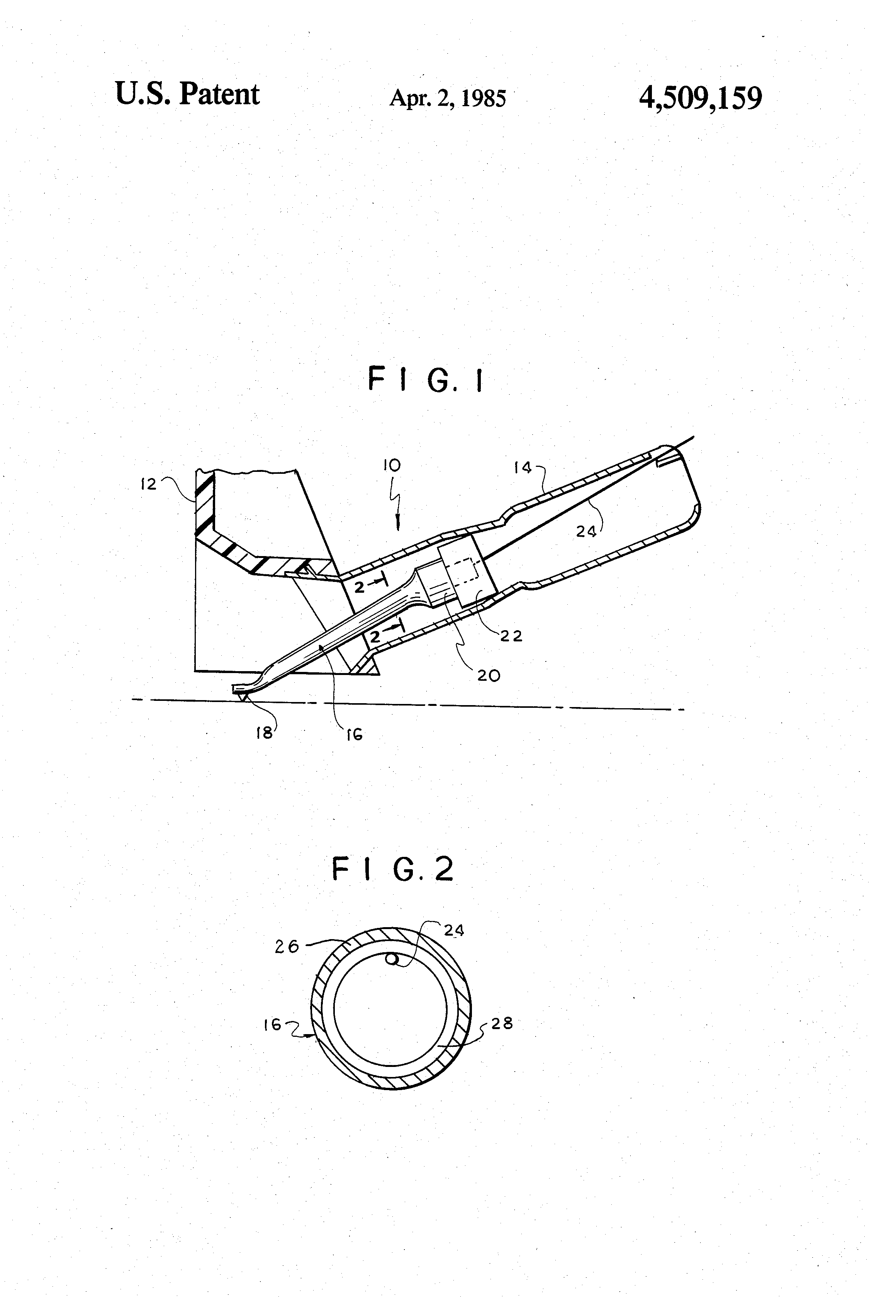
Nie jestem niegrzeczny więc nie napiszę w tym samym tonie.Potrafię wiele rzeczy..Co do Pickeringa to poniżej zamieszczam grafikę patentową wkładki(tu akurat odmiana MI-różni się od MM montowanym magnesem-element nr 102)..myślę że wyrażnie widać typową konstrukcję wkładki MM..Dobra 4 cewkowa konstrukcja na minus rdzeń nielaminowany.Ot i tyle.Na koniec powszechnej ery LP wpadli na pomysł by zrobić wkładkę MM o charakterystyce elektrycznej wkładek MC.Coś jak dzisiejsze (nie wszystkie) modele wkładek Soundsmitha(z tym że one są MI).Tak odwinięcie drutu zbliży nas do MC zakładając oczywiście że mamy wysokiej jakości igłę(niska masa i wysokiej jakości konstrukcja wspornika).
Zresztą jej konstrucja jest wyrażnie opisana:
Pickering XLZ-3500E :
Type MM low output
			
							
			
													Zresztą jej konstrucja jest wyrażnie opisana:
Pickering XLZ-3500E :
Type MM low output
					Ostatnio zmieniony 17 lis 2018, 02:16 przez ISOPHON, łącznie zmieniany 3 razy.
									
			
									
						- 
				ISOPHON
 - Posty: 592
 - Rejestracja: 23 lis 2013, 12:57
 
Re: Pokaż mi swoją wkładkę
Wspomniane przeze mnie wcześniej wsporniki igieł(od Eda) mają konstrukcję rurkową z aluminium nieutwardzanego(jasna barwa).Wysokiej jakości sztywny wspornik z aluminium jest utwardzany anodyzowaniem(ciemniejsza barwa) i ma konstrukcję stożkową.Mniej więcej tak jak na zamieszczonym poniżej zdjęciu.Lub jest teleskopowy(aluminiowy) jak w igłach Shura.Wykładu co do roli i jakości(przede wszystkim sztywności) wspornika igły nie będę robił..jest dostępny np. na stronie Shura(warto poczytać !)Tak samo nie będę się produkował nad konstrukcją elektryczną wkładek-MM,MI,MC zakładam że każdy zainteresowany ją zna(chyba ??).
			
							
			
									
									
						- Wojtek
 - Administrator
 - Posty: 44434
 - Rejestracja: 02 lut 2009, 02:59
 - Lokalizacja: Warszawa
 - Kontakt:
 
Re: Pokaż mi swoją wkładkę
Innymi slowy - to nie "ten" patent tylko jakiś inny przykład.
XV-15 były MI. Wszystko przedtem (V-15) potem (XUV, XSV) już MM.
Analogicznie u Stantona: 500 (MM), 68x (MI), 881/981 (MM).
Chyba nawet nazywają to "MI MC" czy jakoś tak.
Igły bodajże nie są wymienne (w odróżnieniu do konstrukcji Stanteringa
Ja bym to ujął inaczej - Pickering XLZ czy Stantony LZS to MMka "wywrócona na lewą stronę" tak jakby.
Niezależnie od tego, jest to konstrukcja typu MM o charakterystyce elektrycznej wkładek MC LO.
ISOPHON, to że tanie igły zamienniki nie są na tym samym poziomie jakościowym co oryginalne topowe igły wyższej klasy to sprawa oczywista i nikt tutaj odwrotnych twierdzeń przecież nie wrzucał (a przynajmniej nie kojarzę).
Szkoda że nie chcesz tutaj pisać. Byś pokazał jakąś fajną wkładkę z kolekcji
Tubylcza wredota, tudzież insza kanalia
Wsparcie finansowe forum
						Wsparcie finansowe forum
- 
				MISSE
 - Posty: 1660
 - Rejestracja: 16 cze 2013, 21:59
 - Gramofon: Micro Seiki DDX
 
Re: Pokaż mi swoją wkładkę
Możesz niegrzecznie byle rzeczowo
no to pała z mechaniki i materiałoznawstwaISOPHON pisze: ↑17 lis 2018, 01:52Wspomniane przeze mnie wcześniej wsporniki igieł(od Eda) mają konstrukcję rurkową z aluminium nieutwardzanego(jasna barwa).Wysokiej jakości sztywny wspornik z aluminium jest utwardzany anodyzowaniem(ciemniejsza barwa) i ma konstrukcję stożkową.Mniej więcej tak jak na zamieszczonym poniżej zdjęciu.Lub jest teleskopowy(aluminiowy) jak w igłach Shura.
Aluminium się nie utwardza, w połączeniu z innymi materiałami możemy zmienić jego właściwości mechaniczne itd. czyli to jest stop metali
Co do anodowania jest to proces pokrywania się warstwy zewnętrznej najczęściej tlenkami. Anodowanie aluminium powoduje wysoką odporność na zarysowania - NIE WPŁYWA NA SZTYWNOŚĆ I INNE WŁASNOŚCI WEWNĘTRZNE MATERIAŁU. Jeśli trudno zrozumieć ten proces to można porónać go do lakierowania
Stożkowy lub przewężany wspornik ma za zadanie zmniejszenie masy, ale w drogich igłach jest struna dodatkowo naprężająca.
Co do teleskopowego wspornika to raczej wszystko podyktowane jest oszczędnością. Górna część tania rurka aluminiowa, dolna część coś ciękiego drogiego
Lubie każdą dyskusję jeśli tylko opiera się na wiedzy i przedewszystkim wnosi coś dla innych
PS. Czekamy na rzeczowy wykład na temat klejonych i nieklejonych tanich diamentów. Dalej nie napisałeś dlaczego we wkladkach za 10Kzł mamy aluminiowe (ciężkie) wsporniki i dlaczego tak droga wkładka jest akurat tak strojona - teoria o anodowaniu już była
i to jest dobry pomysł zamiast bajek o wyższości świąt Bożego Narodzenia nad Wielkanocą
- 
				ISOPHON
 - Posty: 592
 - Rejestracja: 23 lis 2013, 12:57
 
Re: Pokaż mi swoją wkładkę
I znowu niegrzecznie..
Co do anodyzowania aluminiowego wspornika celem polepszenia jego sztywności to nie mój wymysł a szacownej firmy STANTON/PICKERING..Jest na to patent.. Myślę że konstruktorzy z tej firmy durniami nie byli a i Amerykański Urząd Patentowy dla zabawy tego patentu nie przyjął w 1982 r..jak myślisz ???
			
							
			
													Co do anodyzowania aluminiowego wspornika celem polepszenia jego sztywności to nie mój wymysł a szacownej firmy STANTON/PICKERING..Jest na to patent.. Myślę że konstruktorzy z tej firmy durniami nie byli a i Amerykański Urząd Patentowy dla zabawy tego patentu nie przyjął w 1982 r..jak myślisz ???
					Ostatnio zmieniony 17 lis 2018, 13:36 przez ISOPHON, łącznie zmieniany 1 raz.
									
			
									
						- 
				ISOPHON
 - Posty: 592
 - Rejestracja: 23 lis 2013, 12:57
 
Re: Pokaż mi swoją wkładkę
Eeee..to nie struna naprężająca a tłumik drgań..no chyba że konstruktorzy z firmy SHURE się mylili jak myślisz ??ale w drogich igłach jest struna dodatkowo naprężająca
- 
				ISOPHON
 - Posty: 592
 - Rejestracja: 23 lis 2013, 12:57
 
Re: Pokaż mi swoją wkładkę
Co do zasadności stosowania teleskopowego wspornika to też nie mój wymysł a badania firmy SHURE..notabene swego czasu(lata 70) mocno nagłośnione..jak myślisz durnie pracowali tam jako konstruktorzy ???
			
							
			
													
					Ostatnio zmieniony 17 lis 2018, 13:30 przez ISOPHON, łącznie zmieniany 1 raz.
									
			
									
						- 
				ISOPHON
 - Posty: 592
 - Rejestracja: 23 lis 2013, 12:57
 
Re: Pokaż mi swoją wkładkę
Niestety rozczaruję Cię nie kolekcjonuję wkładek choć przez moje ręce przeszło ich pewnie ponad tysiąc(różnistych) i stety albo i nie częśc z nich dokonała żywota podczas oględzin ich wnętrzności tudzież pomiarów.Szkoda że nie chcesz tutaj pisać. Byś pokazał jakąś fajną wkładkę z kolekcji
- 
				MISSE
 - Posty: 1660
 - Rejestracja: 16 cze 2013, 21:59
 - Gramofon: Micro Seiki DDX
 
Re: Pokaż mi swoją wkładkę
Co ja na ten temat myślę ??? Myślę, że wklejasz ciekawe, rzeczy nie do końca je rozumiejąc, lub czytasz bez zrozumienia
Patent który wkleiłeś, mówi o sposobie anodowania(połowa grubości i tylko wybraną część rurki) więc można powiedzieć że to dwuwarstwowa rurka -aluminium i tlenek aluminium. To głębokość anodowania zmienia parametry mechaniczne choć jest tam też napisane o rezonansie przy zbyt dużej sztywności i jego pływie. Dla tego nie możemy porównać tego anodowania do lakierowania(typowo grubość anodowania jest mierzona w mikronach podobnie jak powłoka lakiernicza). Przy dużych gabarytach podobne cechy uzyskujemy przez kucie
Jest też opisana struna napinająca i tej igle - jest to uziom
Nic nigdy nie doczytałem o tłumiku drgań, ale czekamy na nowe wklejki
Ponieważ ostatnia wklejka to symulacja komputerowa to napisze tylko, że popatrz na oś !!!
Zastanów się nad połączeniem modułów, ile moduł poprzedni musi zachodzić aby możliwe było połączenie (z uwzględnieniem średnicy)
Nie obrażaj nikogo jeśli nie rozumiesz idei jaka przyświecała pomysłowi
A swoją drogą widziałeś oryginalną igłę Shura z pięcioteleskopem???
Mam oryginalne igły Shura do kilku wkładek i droższych i tańszych i nigdzie nie ma takiego połączenia poza opisanym
Szkoda, że zaśmiecilimy wątek o kładkach. Może Wojtek wydzieli to i nada nowy tytuł
- Wojtek
 - Administrator
 - Posty: 44434
 - Rejestracja: 02 lut 2009, 02:59
 - Lokalizacja: Warszawa
 - Kontakt:
 
Re: Pokaż mi swoją wkładkę
Stanton 681EEE Mk IIs
Ostatni topowy model serii Stanton 681. Igła to Stereohedron.
Odpowiednikiem w nomenklaturze Pickeringa był model XV-15/1800S.
Stantonowe przedszkole podczas przerwy na leżakowanie
			
			
									
									Ostatni topowy model serii Stanton 681. Igła to Stereohedron.
Odpowiednikiem w nomenklaturze Pickeringa był model XV-15/1800S.
Stantonowe przedszkole podczas przerwy na leżakowanie
Tubylcza wredota, tudzież insza kanalia
Wsparcie finansowe forum
						Wsparcie finansowe forum
- Biogon
 - Posty: 1924
 - Rejestracja: 17 lut 2017, 15:30
 - Gramofon: składak
 - Lokalizacja: 3ka
 
- Pawelec
 - Posty: 3426
 - Rejestracja: 17 gru 2012, 20:18
 - Gramofon: Składak
 - Lokalizacja: Okolice Warszawy
 
Re: Pokaż mi swoją wkładkę
A temu Romanu to igły sie nie wymienia  
 . Słaba ta MM-ka  
			
			
									
									AKTUALNE OGŁOSZENIA - pierwszy post 
viewtopic.php?t=15809#p307122
Słuchać możesz jeszcze lepiej i jeszcze piękniej.
https://instagram.com/murasaudio
						viewtopic.php?t=15809#p307122
Słuchać możesz jeszcze lepiej i jeszcze piękniej.
https://instagram.com/murasaudio
- Myszor
 - Posty: 11030
 - Rejestracja: 30 paź 2014, 18:44
 - Gramofon: PD-300
 - Lokalizacja: Wrocław
 
Re: Pokaż mi swoją wkładkę
Płyty na sprzedaż: viewtopic.php?t=21850